我们着力于为客户提供更优的产品,专业的解决方案,视产品与服务质量为生命。
自研产品、完全自主知识产权、性能稳定、精度高、供货稳定、客户反馈好、欢迎广大客户订购
始终为客户提供超越期望的价值,坚持以精湛的技术赢得市场,以良心的服务赢得信誉!
咨询热线:18210288648
合作成就梦想,加盟共赢未来。

V9-C 5位柱阀
产品介绍
柱阀可以接入多达5根色谱柱,通过切换阀位使各色谱柱单独串入系统中: 入口和出口中集成的压力传感器可以使用户轻松监测柱前、柱后压力和压差: 专门的沟道设计可以实现流经色谱柱的液体流向正反流切换;
基本参数:
型 号:V9-C
货 号:280202
流路直径: 1mm
最大耐压: 5MPa
接头规格: 1/16 10-32
供 电:DC24V/5A
通讯协议: RS485/MODBUS RTU
维护配件: 阀头(280202-002) 阀芯(280202-001)
维护周期: 20000次切换(禁止干磨)
死 体 积:18uL
接液材质: PEEK
产品流路图
接口: 描述:
In: 入口(内置压力传感器)
Out: 出口(内置压力传感器)
A1-A5: 接色谱柱入口
B1-B5: 接色谱柱出口
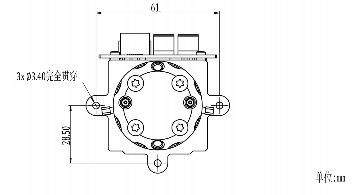
安装尺寸图
安装孔位图
服务热线:4001811851
电 话:18210288648/许经理
邮 箱:xhn@lm-sc.com.cn
意见投诉:service@lm-sc.com.cn
地 址:北京亦庄经济技术开发区科创十二街8号合众思壮2C-806